LINAK Control Box CB6
LINAK Control Box CB6
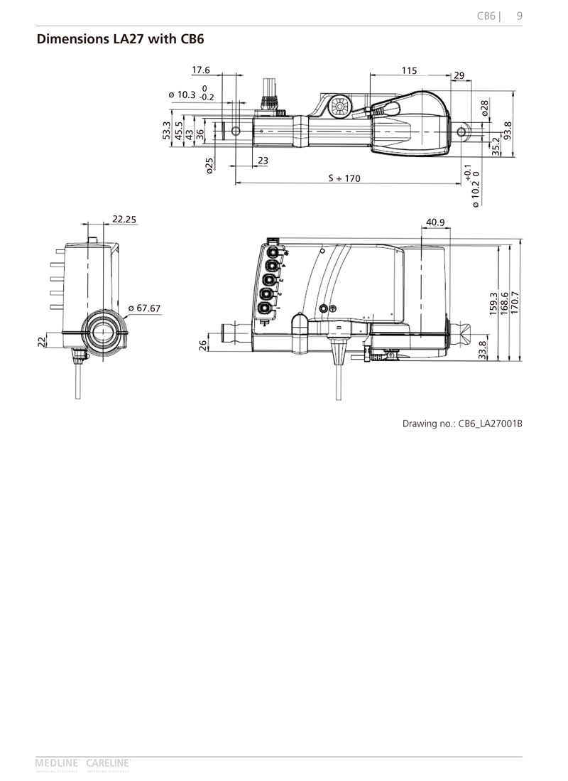
The control box CB6 has been specially developed for use together with the LA27/LA40 in the healthcare industry.
The control box is designed to be mounted on the linear actuator LA27/LA40, as with the CB9 and the LA31 system. The control box CB6 has an LED power ON indicator, detachable mains cable and strain relief for all cables.
The CB6 control box communicates with the LA27/LA40 by means of the built-in end stop signal switches in the actuator. Due to the signal switches, the power to the motor is cut off in the control box and not in the actuator. This ensures that it is only possible to run in the opposite direction once the actuator has reached the end position.
LINAK recommends using the CA30 and CA40 for new projects.
Voltage in: 220-240/120/100 V











PreviousContent:LINAK Control Box CO71
NextContent:Tente swivel castor 2076PJP125R36-32S30